Замер кухни
Обновление кухни всегда начинается с замера помещения. Давайте разберемся, как сделать измерения без ошибок.
НАРИСУЙТЕ КУХНЮ

Чтобы не запутаться в замерах, зарисуйте все помещение, и уже на этой схеме записывайте свои измерения.

Не пропустите ни одну деталь: расположение окон, дверей, розеток, выключателей, выступающих элементов в стене, подоконника, радиатора, вентиляционного короба, водопроводных и канализационных труб, а также всех других коммуникаций, какие только у вас есть.

Максимальная точность и детализация — вот секрет успеха для создания идеальной кухни.

Как замерить кухнню 9
СДЕЛАЙТЕ ЗАМЕРЫ И ОТМЕТЬТЕ ИХ НА ВАШЕМ РИСУНКЕ

Начните с общего замера помещения:

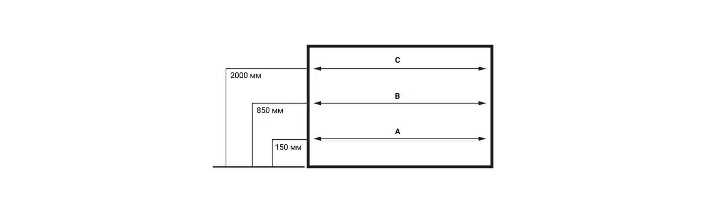
1. Измерьте длину стен

  • Чтобы учесть их возможную кривизну, сделайте 3 замера длины каждой стены: на высоте 150 мм от пола, 850 мм и 2000 мм.
Как замерить кухню 2
  • Чтобы кухня «вписалась» по размерам, измерьте длину во второй раз, только теперь с отступом от стены в 600 мм (это стандартная ширина столешницы).
Как замерить кухню 3

Проверьте перпендикулярность стен. Отложите по каждой стороне 1 метр и измерьте расстояние между полученными точками (X). Если угол прямой (90°), это расстояние (Х) должно быть равно 1414 мм.

Как замерить кухню 4

Если «Х» больше 1414 мм, то угол не является прямым, он больше 90 градусов. Длина помещения, измеренная по стене, будет меньше длины, измеренной на расстоянии 600 мм от стены на «Y».

Как замерить кухню 5

Если «Х» меньше 1414 мм, то угол острый, меньше 90 градусов. Длина помещения, измеренная по стене, будет больше длины, измеренной на расстоянии 600 мм от стены на «Y».

Как замерить кухню 6

2. Измерьте высоту стен

Измерьте расстояние от пола до потолка (H) и расстояние от пола до вентиляционной решетки (h).

Как замерить кухню 7

3. Замерьте и зафиксируйте все элементы, которые есть в комнате

Необходимо указать расстояние от краев стен, пола и потолка до:

— вентиляционного короба и вытяжного отверстия

— водопровода, канализации, места подвода труб, газовой колонки (если она есть)

— окна, подоконника, дверных наличников и дверей (а также в какую сторону они открываются)

— розеток, выключателей

— расположение и толщину фартука из плитки (если он есть)

— выступающего карниза

Основные из дополнительных размеров, которые могут понадобиться – это расстояние от ближайшего угла помещения до газовой трубы (D), расстояние от угла до окна (Е), расстояние от пола до подоконника (h1), а также, на сколько сантиметров подоконник выступает от стены внутрь кухни.

Как замерить кухню 8

Учтите важные детали

  • Помните, что размер и высоту верхних шкафов нельзя рассчитывать вплотную к потолку (как к навесному, так и окрашенному или какому-либо другому). При установке кухни шкаф нужно немного приподнять, чтобы навесить на планку. Также нужно оставить минимальный зазор не менее 1,5 см.
  • Высота фартука должна быть не менее 52 см, иначе пользоваться столешницей будет неудобно.
  • Обратите внимание на все помехи для дверец шкафов или ящиков. Выступающие подоконник, трубы или радиатор не должны мешать открывать дверцы и выдвигать ящики.
  • При заказе кухни укажите, какой техникой она будет оборудована: встроенной или отдельно стоящей. Если техника уже куплена, необходимо сообщить ее размеры и место расположения.

Следуя нашей инструкции, вы сделаете самостоятельный замер кухни, однако учтите, что это достаточно сложный процесс.